|
КОТЕЛ ВОДОГРЕЙНЫЙ С ГАЗОГЕНЕРАТОРОМ
НА СЫПУЧЕМ ТОПЛИВЕ
мод. «АГГУ-60», «АГГУ-120», «АГГУ-250», «АГГУ-600».
Энергетические установки мод. АГГУ (рис. 1) являются современным оборудованием, предназначенным для сжигания сыпучих древесных отходов с грануляцией до 30 мм и кусковых отходов длиной до 0,7 м. Влажность топлива 6 - 60 %. В состав энергетической установки входят: бункер для сыпучего топлива, шнековый транспортёр подачи топлива, газогенератор, водяной котёл и комплект оборудования системы автоматики энергетической установки. Установки АГГУ предназначены для нагрева воды в системах теплоснабжения сушильных камер, а так же для отопления жилых и производственных помещений и т.п. Опилки (стружка) или щепа засыпаются в бункер, снабженный ворошителем, и далее поступают в шнековый транспортер, работающий в автоматическом режиме «подача-пауза» в соответствии с заданной на контроллере (рис. 2) программой. Шнек осуществляет дозированную подачу топлива в газогенератор, в котором происходит процесс газификации, т.е. процесс практически полного превращения топлива в горючие газы. Факел горящего газа направляется в камеру сгорания котла, в котором происходит нагрев воды. Обрезки и кусковые отходы сжигаются непосредственно в топке котла. Контроллер - программатор обеспечивает поддержание и регулировку температуры теплоносителя с точностью ±1° С. Циркуляция воды в системе обеспечивается насосом.
Принципиальным отличием энергоустановок АГГУ по сравнению с энергоустановками слоевого сжигания, в которых топливо подаётся непосредственно в камеру сжигания водяного котла, является наличие в составе установки газогенератора, имеющего систему автоматического регулирования режима работы. В газогенераторе реализуется простой, хорошо проверенный способ преобразования твёрдого топлива в газообразное. На стадии газификации топливо, подаваемое в дозированном количестве в камеру газообразования, нагревается раскалённым реактором, разлагается на углерод, водяной пар, смолы и масла. Дальнейшая реакция между углеродом и кислородом воздуха обеспечивает температуру, достаточную для образования окиси углерода (СО) L главного горючего компонента вырабатываемого газа. Смолы и масла разлагаются на газы, содержащие водород. Минимальная теплотворная способность газа- 1100 ккал/м3. Химический состав генераторного газа приведен в таблице 1.
Химический состав генераторного газа |
CO |
CO2 |
CnOm |
H2 |
O2 |
N2 |
Объёмные % |
14-12 |
8-15 |
1-4 |
10-17 |
Менее 5% |
50-60 |
ОСНОВНЫЕ ПРЕИМУЩЕСТВА.
1. Превращение опилок (стружки) в горючий газ - газификация топлива обеспечивает практически полное сгорание топлива, в результате чего достигается высокий КПД установки (80 - 85 %).
2. Автоматическая шнековая подача опилок (стружки, щепы) обеспечивает их равномерное горение и поддерживает высокую точность температуры воды (±1° С), что особенно важно при использовании установок в системах теплоснабжения камер для сушки древесины. Для достижения аналогичных результатов при использовании установок слоевого и шахтного типа их необходимо дополнительно комплектовать дорогостоящими и сложными в эксплуатации системами автоматического регулирования температуры воды.
3. Автоматический режим дозированной подачи топлива не требует постоянного присутствия обслуживающего персонала.
4. Не требуется установка дымососов с целью подачи в топку необходимого объёма воздуха (особенно при сжигании сырого топлива). Оптимальное соотношение между количеством подаваемого топлива любой влажности и объёмом воздуха обеспечивается в газогенераторе путём автоматического управления подачей топлива н работой вентилятора наддува.
5. Не требуется установка систем искрогашения и очистки дымовых газов в связи с практически полным сгоранием топлива (образуется 1 % золы). Высокая степень сгорания топлива достигается путём применения специальных режимов его газификации.

Рис.1
|

Рис.2
|
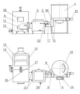
КОМПОНОВОЧНАЯ СХЕМА ЭНЕРГЕТИЧЕСКОЙ УСТАНОВКИ АГГУ-250.

|
1. Бункер.
2. Транспортер шнековый механизма подачи топлива.
3. Газогенератор.
4. Котел водяной.
5. Вентилятор наддува.
6. Контроллер, блок управления двигателем редуктора.
7. Датчик температуры воздуха в шнековом транспортере.
8. Насос водяной системы пожаротушения в шнековом транспортере
9. Резервуар с водой.
10. Дверца топки верхняя.
11. Дверца топки нижняя.
12. Дверца зольника.
13. 14. Люки для очистки дымоходов.
15. Дверца очистки дымоходов.
16. Измеритель-регулятор температуры ИРТ.
17. Датчик максимально допустимой температуры воды в котле.
18. Датчик измерителя-регулятора температуры ИРТ.
19. Ворошитель топлива.
20. Ручка управления воздушной заслонки.
21. Ручки управления заслонками вторичного воздуха.
22. Выключатель концевой.
23. Мотор-редуктор механизма подачи топлива.
24. Затвор шлюзовый.
|

Т Е Х Н И Ч Е С К А Я Х А Р А К Т Е Р И С Т И К А
МОДЕЛЬ |
АГГУ-60 |
АГГУ-120 |
АГГУ-250 |
АГГУ-600 |
Номинальная тепловая мощность, кВт |
60 |
120 |
250 |
600 |
Теплоноситель |
горячая вода |
горячая вода |
горячая вода |
горячая вода |
Температура теплоносителя, ° С |
до 95 |
до 95 |
до 95 |
до 95 |
Точность подержания температуры носителя, ° С |
±1 |
±1 |
±1 |
±1 |
Подача топлива: |
- при сжигании опилок, стружки, щепы |
автоматическая |
автоматическая |
автоматическая |
автоматическая |
- при сжигании кусковых отходов |
ручная |
ручная |
ручная |
ручная |
Площадь отапливаемого помещения (высота 3,5 м) |
400 м. кв |
800 м. кв. |
1700 м. кв. |
5000 м. кв. |
Объем сушильной камеры |
до 15 м. куб |
до 30 м. куб |
до 60 м. куб |
до 150 м. куб |
Потребляемое количество топлива:
- насыпной объем опилок (стружки), м3/сутки
- объем кусковых отходов, м3/сутки |
2,5 - 3,0
1,75 - 0,95 |
5,0 - 6,0
1,5 - 1,9 |
10,0 - 12,0
3,0 - 3,8 |
24 - 30
6 - 7,6 |
Потребляемая мощность, кВт |
0,55 |
0,75 |
1,1 |
1,5 |
Объем бункера, м куб |
0,6 |
1,5 |
1,5 |
1,5 |
Размеры помещения для ЭК, м |
4,0х5,0х2,5 |
4,5х5,5х2,5 |
4,5х6,0х3,0 |
5,5х6,5х3,5 |
Масса, кг |
1300 |
1950 |
3000 |
5000 |
Рамные пилорамы -
Ленточные пилорамы -
Бревнопильные -
Окорочные -
Оцилиндровочные -
Горбыльно-ребровые -
Бревнотаски -
Ленточно-делительные -
Многопильные -
Кромкообрезные -
Торцовочные -
Сушильные камеры -
Влагомеры -
Котлы на отходах -
Для постформинга -
Четырехсторонние -
Паркетные -
Круглопильные -
Фуговальные -
Фуговально-рейсмусовые -
Рейсмусовые -
Фрезерные станки -
Копировальные -
Автоподатчики -
Шипорезные -
Копировально-фрезерные -
Для багета -
Компрессорные -
Для палочек для еды -
Оконные центры -
Бытовые -
Комбинированные -
Ленточно-пильные -
Пазовально-сверлильные -
Долбежно-цепные -
Для шкантов -
Круглопалочные -
Токарные -
Форматно-раскроечные -
Кромкооблицовочные -
Присадочно-сверлильные -
Шлифовальные -
Калибровально-шлифовальные -
Клеенаносящие -
Обрабатывающие центры -
Прессы для облицовывания -
Вакуумные прессы -
Прессы для сращивания -
Ваймы и пресса для щитов и окон -
Прессы для склеивания бруса -
Упаковочные -
Дробилки -
Прессы для брикетирования -
Пылесосы -
Покрасочные камеры -
Заточные -
Вальцовочные -
Для формирования зубьев -
Для сварки ленточных пил -
Печь для углевыжигания -
Дровокольные -
Для стульев -
Для шпона -
Для домостроения -
Лазерные -
Комплексы для лесопиления -
Рубительные -
Стеклообрабатывающие -
Для мягкой мебели -
Для импрегнации изделий из древесины -
Для искусственного старения -
Камнеобрабатывающие -
Для поддонов -
Абразивно-отрезные -
Вертикально-сверлильные -
Вертикально-фрезерные -
Гильотины -
Горизонтально-фрезерные -
Строгальные и долбежные -
Заточные -
Круглошлифовальные -
Ленточнопильные -
Листогибочные -
Настольно-сверлильные -
Настольно-токарные -
Плоскошлифовальные -
Прессы -
Радиально-сверлильные -
Ручные гильотины -
Сверлильно-фрезерные -
Специализированные -
Токарно-винторезные -
Токарные станки с ЧПУ -
Точильно-шлифовальные -
Трубонарезные -
Широкоуниверсально-фрезерные -
Станки АЛЬЯНСХЕМ -
Печи -
Транспортеры
|